齒輪加工刀具02齒輪滾刀
齒輪滾刀的工作原理類似于交錯斜齒輪副的嚙合過程。滾刀相當于小齒輪,工件等效于大齒輪。
滾刀繞自身軸旋轉運動是滾刀滾動時的主要運動。進料運動包括齒坯的旋轉和滾刀沿齒坯軸線的運動。滾刀的滾動運動和鋼坯繞其軸線的旋轉運動形成一個展成運動。
產生運動符合齒輪嚙合原理。為了確保被切割齒輪的正確齒數,必須保持嚴格的速比。
同樣的滾刀可以用來加工直齒輪和螺旋齒輪,但是滾刀有不同的安裝角度。安裝角度是指滾刀軸與齒輪端面之間的角度。
安裝角度基本原理:滾刀齒向與齒輪齒向相同。
滾刀相當于一個少齒(一個或幾個齒)的螺旋齒輪,因此它的螺旋角很大,螺紋升力角很小,因此滾刀的形狀不像齒輪,而是蝸桿形狀,因此被稱為滾刀的基本蝸桿。滾刀的齒數等于蝸桿的頭部數。
阿基米德蝸桿和普通直齒蝸桿是應用最廣泛的。
齒輪滾刀有切屑槽、前角和后角。沿著爐盤縱向形成凹槽,以形成切屑袋,前刀面和切削刃。
1.齒輪滾刀的選擇
(2)滾刀的精度水平應與加工齒輪的精度水平一致。
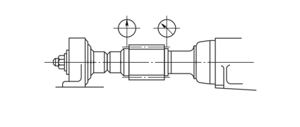
第五,齒輪滾刀的安裝
滾刀安裝注意事項:
(1)用百分位計檢查軸臺兩端徑向圓跳動,其值不應超過允許值。(一般來說,加工8級精密齒輪,其外徑小于200 mm時,其值不應超過0.03 mm。)
(2)雙軸工作臺的反彈方向和數值應盡可能一致,即兩端徑向跳動的最高點在同一方向。
iHF齒輪21年只做一件事精密齒輪制造—同步帶輪—同步帶,生產廠家標準件大量庫存當天發貨價格優質保障,集研發.生產.服務一體化,版權所有:http://m.tcjnrj.cn轉載請注明出處
- iHF合發齒輪帶您了解同步輪
- 讓同步帶輪不會發熱的知識點,您要了解嗎?
- 同步帶敲黑板知識,讓您了解同步帶
- iHF齒輪六月展會預告
- 齒輪加工刀具05剃齒刀
- 齒輪加工刀具04插齒刀
- 齒輪加工刀具03蝸輪滾刀
- 齒輪加工刀具02齒輪滾刀
- 齒輪加工刀具01齒輪刀具的種類
- 厚度決定齒輪的大小
聯系iHF齒輪
18929357195
售后電話:0755-27746221
客服QQ:2850623673
郵箱:2850623673@qq.com
地址:深圳市龍華新區大浪創藝路16號安宏基工業園C棟


